Panoramische koppen deel 3
Een veer doet het werk
Het verre verleden
Alle grote theorieën ten spijt zien we in de dagelijkse praktijk weinig koppen die werken volgens de vorige principes. De meeste, zeker voor lichtere camera’s, maken gebruik van een simpele veer. Of van een minder simpele …
Vanaf de oertijd van TV heeft men koppen gebouwd waarbij een veer het terugroepkoppel levert. Bij deze zeer oude Vintenkop zien we duidelijk de veer die rondom de as gewikkeld is.
Foto: Hanno-Heinz Fuchs / © Svenska Filminstitutet
In de jaren 1940-1950 waren de koppen van Houston Fearless dé referentie. In het eerste artikel maakten we al kennis met de dure en omvangrijke ‘cradle’-versie. Een zuiniger oplossing bestond uit een pan/tiltkop met veer zoals het type WW S2.

Deze twee foto’s tonen hoe die kop onder de camera PYE Mk van Studio 6 op Flagey gemonteerd was. Anders dan bij de vorige kop is de veer van buitenaf niet zichtbaar. De helicoïdale torsieveer is immers inwendig aangebracht.
Volgens de brochure kan de camera in beide richtingen 45° neigen en mag hij tussen 80 en 150 pond wegen, dat is afgerond tussen 35 en 65 kg. Een veer kan niet voor alle gewichten geschikt zijn, het evenwicht waarvoor de veer zorgt is dus relatief. Belangrijk is wel dat camera opnieuw horizontaal komt als de panbar losgelaten wordt.
Vooraan op de linkerfoto zien we een hendel en een draaiknop. De knop dient om de wrijving (drag) bij verticale bewegingen in te stellen, de hendel is een rem die de camera in een gewenste stand blokkeert.

Vanuit een andere hoek (de rechterfoto) zien we ongeveer in het midden de frictierem voor horizontale panbewegingen en daarboven een asje met een pen waarmee de camera voor- en achteruit kan geschoven worden om het zwaartepunt juist boven de horizontale as te plaatsen.
Een van onze andere camera’s uit de beginperiode staat op een gelijkaardige kop van Cinema Equipment, zie de foto hieronder.

Bij studiocamera’s werd dit type van kop al snel vervangen door de versie met kammen van Vinten. Die bespraken we in een eerder artikel. Maar de versie met veer is bij de lichtere camera’s altijd populair gebleven en is bij de zwaardere camera’s na verloop van tijd zelfs opnieuw populair geworden.
Voor de oppervlakkige toeschouwer zien de meeste pan/tiltkoppen er hetzelfde uit. Het valt moeilijk te achterhalen wat zich binnenin afspeelt en de brochures van de fabrikanten maken ons ook niet veel wijzer. We hebben ons daarom dikwijls gebaseerd op beschrijvingen in octrooien. Ook dit nog: het vermelden van een bepaald merk of type is puur illustratief en houdt geen waardeoordeel in. Daarvoor missen we de nodige expertise. Onze collectie omvat overigens ook niet alle geciteerde types. (We staan natuurlijk altijd open voor giften...)

De theorie dus : Als het zwaartepunt van een camera een hoek ? maakt met de verticale door de as, moet de cameraman een kracht uitoefenen om hem in evenwicht te houden. In een vorige artikel hebben we gezien dat het moment M dat daartoe nodig is gelijk is aan het cameragewicht G vermenigvuldigd met de afstand van het zwaartepunt tot de as h vermenigvuldigd met de sinus van de neigingshoek ?. Of M = G.h.sinα.
Bij de hier beschreven koppen wordt die kracht geleverd door een veer. De kracht die een veer uitoefent volgt uit de wet van Hooke.
Ze is gelijk aan de veerconstante of krachtconstante k - een maat voor de stijfheid van de veer - vermenigvuldigd met de vervorming (uitrekking, indrukking, of verdraaiing voor een torsieveer). De vervorming zou theoretisch evenredig (evenredigheidsfactor c) moeten zijn met sinα. Het terugroepkoppel van de veer is dan M = c.k.sinα.
Dan blijkt uit de formule M = G.h.sinα dat de veerconstante evenredig is met het product van het gewicht van de camera (telkens met accessoires) en de hoogte van het zwaartepunt, of G.h = c.k

Het product G.h is dus constant, het beschrijft een hyperbool :
zie deze figuur, die we (om ze zelf niet hoeven te tekenen) ontlenen aan een Vinten-catalogus.
Hoe lager het zwaartepunt van de camera, des te meer mag hij dus wegen om in evenwicht te zijn voor een bepaalde veer.
Daarnet veronderstelden we dat de vervorming van de veer evenredig is met de sinus van de neigingshoek. In de meeste gevallen zal het om constructieve redenen eerder met de hoek zelf zijn. Dat levert een fout op, (zie de Vintenfiguur hieronder) die sommige koppen compenseren, maar waar we niet verder op in gaan.

In de praktijk
Behalve bij de meest eenvoudige opstellingen is het gewicht van de camera niet altijd hetzelfde. Er kan bijvoorbeeld een spotje geplaatst zijn, een extra beeldzoeker, een compendium, een andere lens, een prompter …..
Ook in zo’n configuratie moet de camera in balans kunnen gebracht worden. Dat kan men (op niveau van de panoramische kop) op twee manieren oplossen : door ofwel de veerconstante te wijzigen (een andere veer m.a.w.) ofwel de uitrekking van de veer.
Bespreken we de eerste oplossing: een andere veer.
Bij deze Vintenkop bijvoorbeeld kan men op een eenvoudige manier de veer vervangen :

Er is een tiental verschillende veren beschikbaar, we zien er hier acht, (apart aan te kopen) waarmee men camera’s van één tot 10 kg kan dragen. De kleur geeft de sterkte aan.
Dat betekent nog altijd extra werk en componenten. De de meeste koppen hebben tegenwoordig dan ook een draaiknop waarmee men het gepaste koppel kan instellen. Als voorbeeld geven we aan hoe dat bij Sachtler in zijn werk gaat.
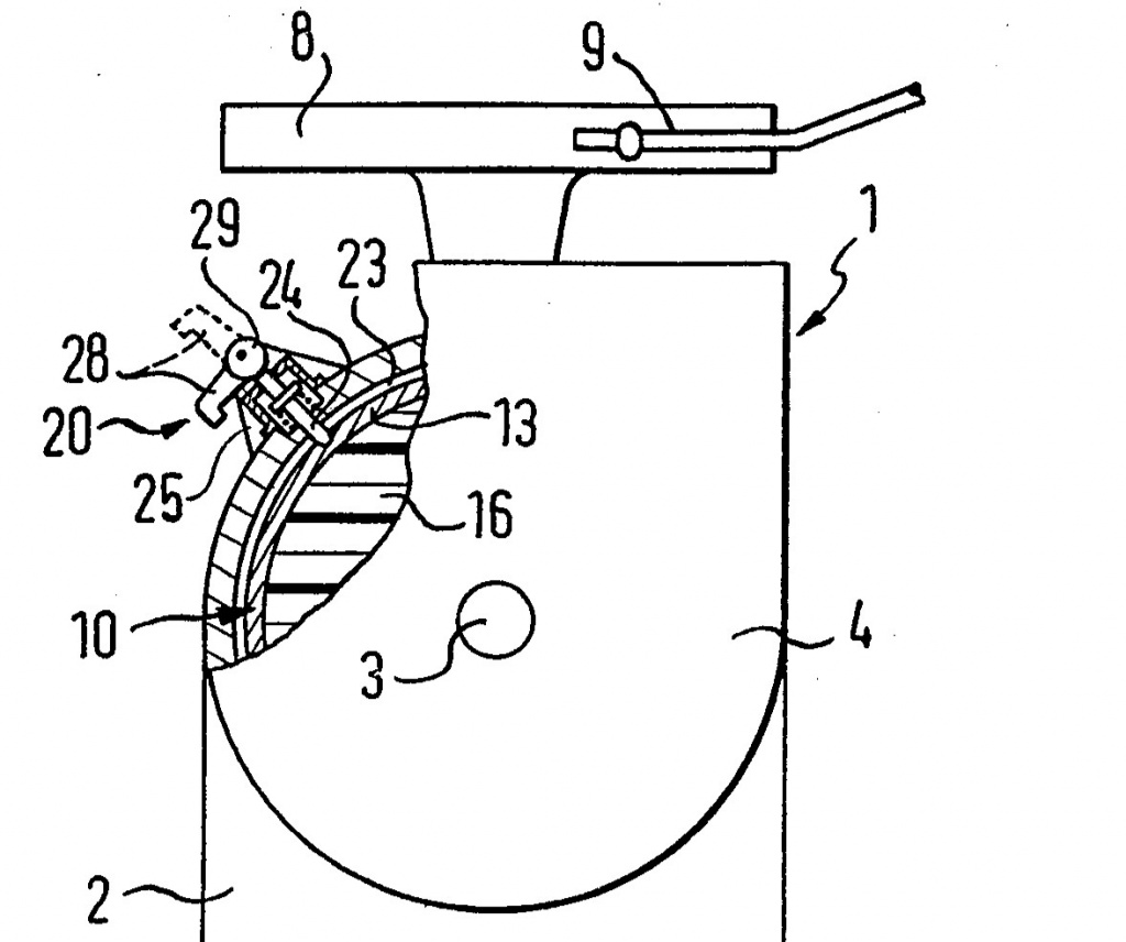
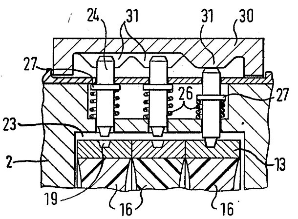
Men gebruikt geen klassieke veren, wel een soort van wiel. Tussen de ring aan de naafkant 12 en de buitenste ring 13 bevindt zich een veer. Op de onderstaande octrooitekening zijn dat twee spiraalveren 16, want de kop moet in de twee richtingen kunnen kantelen. In de praktijk (zie de foto) zijn de twee ringen verbonden door een rubber van een bepaald profiel.


Op de binnenste ring 12 is er een nok 14 die verbonden is met een uitsparing op de as van het draaibare deel van de kop. In de buitenste ring 13 is er een uitsparing 19. Als het palletje 20 hierin zakt dan wordt de ring verbonden met het vaste deel van de kop.

Met dat palletje kan men de veer dus naar believen in- en uitschakelen, bijvoorbeeld met het hendeltje 28 op nevenstaande tekening.
Stel nu dat men twee zo’n schijven inbouwt in de kop, waarbij de tweede schijf de dubbele terugroepkracht heeft van de eerste, dan kan men met twee palletjes drie gewichten kiezen, overeenkomend met schijf 1, schijf 2, en schijven 1 + 2. Met drie schijven kan men zeven gewichten kiezen, dat kan er zo uit zien :

Als het aantal schijven toeneemt moet men al beslagen zijn in de binaire telling om de goede combinatie te kiezen. Daarom voorziet men meestal een draaiknop die de opeenvolgende combinaties opwekt (zie de tekening hieronder).

Veruit de meeste koppen werken op basis van dit principe (met een eigen veersysteem). Als men een hogere waarde oproept voor de veerspanning dan wordt die meestal pas effectief nadat men de kop over de horizontale positie bewogen heeft, want enkel dan kan het palletje in de uitsparing vallen. Een lagere waarde werkt onmiddellijk, het palletje wordt door een veer eruit gelicht.
Als alternatief kan men ook inwerken op de vervorming van de veer om de juiste balans te vinden. Bij een lichtere camera moet de veer minder ver ingedrukt worden voor dezelfde hoek dan bij een zwaardere. Meestal gebeurt dat door een ingewikkeld systeem van kabeltjes en/of excentrieken.
Als voorbeeld van een ingenieuze (en begrijpelijke) oplossing beschrijven we zeer kort het “wings”-systeem van Cartoni. Zie de figuren (uit het VS-octrooi 7.331.675) :


We zien het mechanisme in zijn uiterste standen. Een veer 8 is bovenaan bevestigd aan een vast punt. Door te draaien aan de “balans”-knop 3 verplaatst men het onderste uiteinde over een gebogen profiel 5, de zogenaamde vleugel of wing. Deze vleugel scharniert aan één uiteinde rond de vaste as 6. Rond de as van de kop bevindt zich een excentriek (een beetje zichtbaar op de tweede tekening) die de vleugel naar boven doet scharnieren rond as 6 wanneer de camera naar beneden of naar boven neigt.
Op de eerste tekening drukt de veer op de vleugel juist boven deze as, zodat deze kanteling geen effect heeft op de indrukking van de veer. Geschikt voor een camera met gewicht nul.
Op de tweede tekening is het effect maximaal. Omdat het onderste uiteinde van de veer ver verwijderd is van het scharnierpunt 6 zal de veer bij een kanteling van de kop sterk ingedrukt worden, het terugroepkoppel is dan maximaal.
Door te draaien aan knop 3 kunnen we (via een wormwiel en een cardankoppeling) de veer een willekeurige positie doen innemen tussen deze beide uitersten, zodat alle mogelijke tussenin gelegen gewichten kunnen gecompenseerd worden.
Conclusie
Met een paar voorbeelden hebben we de drie principes beschreven waarop het evenwichtssysteem van de panoramische koppen steunt. Op de markt zijn er natuurlijk zeer veel types. We weten niet hoe deze toestellen inwendig in mekaar zitten (bij bepaalde merken kunnen we het wel vermoeden) en veel uitleg geven de fabrikanten zelf meestal evenmin. Het ligt ook niet in onze bedoeling - of mogelijkheden - om ze allemaal te bespreken maar we hebben hopelijk wat inzicht kunnen geven in deze algemene principes.
Om terug te keren naar het eerste artikel klik hier.
Om terug te keren naar het tweede artikel klik hier.
_______________________________________________