Versterker Presto 85B
Presto versterker, type 85B
Technische Steekkaart
Merk: Presto Recording Corporation
Type: 85B
Serienummer(s): 2400 en 2406
Land van oorsprong: USA
Bouwjaar: 1946 (?)
Voeding: 220 V AC
Buizenbezetting: 4 x 6SJ7, 2 x 6L6AG
Luidspreker: geen, voor aansluiting op externe luidspreker
Afmetingen: B: 483 mm; H: 270 mm; D: 290 mm
Gewicht: ong. 16 kg
Behuizing: uitvoering voor inbouw in een 19” rack
Voorwoord
De Presto 85B is volgens fabrieksopgave een Recording Amplifier, of in goed Nederlands een opnameversterker.
Het toestel vormt de link tussen de opnamemicrofoon en het platengraveerapparaat. Ook de naam Tube Cutting Amplifier heb ik aangetroffen.
Het OmroepMuseum bezit twee van deze toestellen. Na onderzoek blijkt dat ze allebei nogal wat wijzigingen ondergaan hebben, en dat het moeilijk zal zijn ze in hun oorspronkelijke staat te herstellen. Verderop gaan we hier dieper op in.
Bedieningsorganen

Van rechts naar links, en van onder naar boven zijn er volgende elementen:
- Een aan/uitschakelaar
- Een vijfstanden draaischakelaar, gemerkt SELECTOR, waarmee de werkmode gekozen kan worden.
De vijf standen zijn: MIC. PA; MIC. REC; PLAY BACK; RADIO REC en RADIO. Verderop zal de werking uiteengezet worden. - Een horizontaal opgestelde telefoonsleutel met drie stabiele standen. Deze sleutel is beschermd tegen onvoorzien foutief gebruik door een metalen beugel en onder deze beugel zitten de aanduidingen #1 en #2. Alles wijst erop dat deze bescherming later werd aangebracht.
- Een draaiknop, gemerkt DB ATTENUATION, met in tegenwijzerszin de indicaties 0; 4; 8; 12; 20; 28; 36; 44; 52 en 60.
- Links hiervan een met MONITOR gemerkte jack bus
- Boven de telefoonsleutel een rode verklikkerlamp
- En hierboven een rond meetinstrument, met opschrift –DECIBELS+, met een schaal gaande van +6; +4; +2; nul; -2; -4; -6 tot -10. Onder de nulstand ook de aanduiding 1,73V.
- Verder zien we nog een identificatieschildje rechts bovenaan. (alleen op het toestel met serienummer 2406, op het nr. 2400 zijn alleen de twee bevestigingsgaatjes hiervoor nog te vinden)
Alle indicaties op het voorpaneel zijn gegraveerd op een donkere achtergrond, en met witte verf opgevuld. Wij denken dat het voorpaneel in de loop der tijd herspoten geweest is. De donker beige kleur lijkt op en eerder amateuristische manier te zijn aangebracht. Je kan hier en daar zelfs nog vingerafdrukken zien die aangebracht zijn in de nog natte verf.
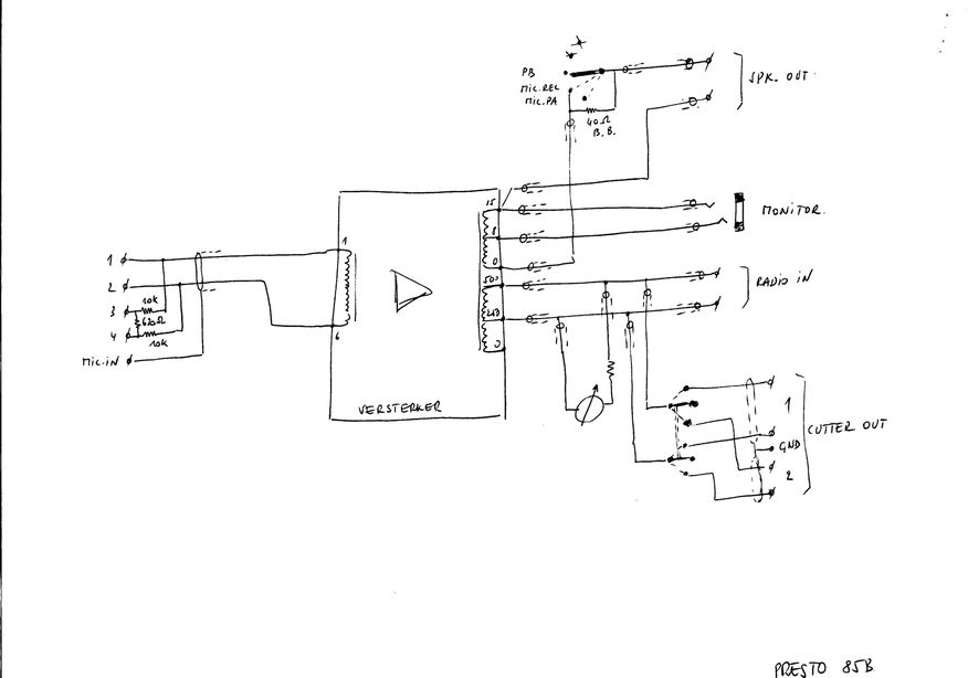
Aansluitingen op het achterpaneel.

Hier bevinden zich twee lange smalle pertinax aansluitstrips, elk met 12 schroefklemmen. Het linkerpaneeltje bevat, v.l.n.r.:
- Twee klemmen 220 A.C.
- Twee klemmen 6.3 A.C.
- Twee klemmen SPK. OUT.
- Vier klemmen CUTTER OUT., met onderaan de nummers 1 en 2, om de paren aan te geven
- Eén klem GND
- Eén klem B+
Het rechterpaneeltje heeft:
- Twee klemmen RADIO IN
- Vier klemmen PICKUP IN, met onderaan de nummers 1 en 2, om de paren aan te geven
- Twee klemmen MIC. IN.
- Tenslotte vier klemmen, gemerkt 4.; 3.; 2. en 1.
Achteraan is er ook nog een smeltzekering en een tweede identificatieplaatje
Eerste Indruk
Na het doornemen van de beschrijving hierboven zou de omschrijving van het apparaat de volgende kunnen zijn :
Het toestel is een voorversterker die één of twee plaatsnijmachines kan aansturen. Als opnamebron kan het signaal van de radio of van een microfoon worden gebruikt. In de weergavestand kan het signaal van een radio, een microfoon of één van twee platenspelers worden weergegeven via een aan te sluiten losse kontroleluidspreker.
Er is een uitbreidingsaansluiting voorzien voor de voeding van externe randapparatuur, bijvoorbeeld een radio-ontvanger (d.m.v. de spanningen beschikbaar op de klemmen 6.3 A.C. en de klem B+).
Schema opnemen
Ik heb eerst getracht het schema op te nemen. Dit is een langdurig proces. Eerst teken je de bedrading onderaan het chassis na, en van daaruit, met behulp van de aansluitgegevens van de buizen, kom je tot een min of meer deftig schema. Probleem is ook dat er vaak geen aansluitgegevens te vinden zijn van de gebruikte transformatoren.
Voeding
De 220 Volt netvoeding wordt aangesloten op de twee hiervoor voorziene klemmen.
Bouw
De Presto 85B is op een klassiek 19” chassis gebouwd. Het voorpaneel is een sandwichpaneel, en dit is met verstevigingsdriehoeken aan het frame bevestigd. De drie transformatoren en de afvlaksmoorspoel zijn alle in een metalen afschermende behuizing gevat. De drie electrolytische afvlakcondensatoren zijn van het verwisselbaar inplugtype. Twee stuks 2 x 25 µF/450V, en een met 2 x 100 µF/25, in parallel geplaatst over de gemeenschappelijke kathodeweerstand van de eindbuizen 6L6. De uitsturingsmeter op het frontpaneel is van het merk Weston, model 301, type 20. De schaal loopt van -10, -6, -3, -2, 0, +2, +4 tot +6 dB. Voor mij onbekend was de ijking van deze meter: hier komt 0 dB overeen met 1.73 Volt, waar mij steeds aangeleerd werd dat 0 dB gelijk was aan 0,775 Volt. Maar na wat dieper op de materie in te gaan volgt de oplossing: 1.73V wordt over 500 ? bepaald (6 mW), daar waar 0,775V over 600 ? wordt gemeten (= 1mW)
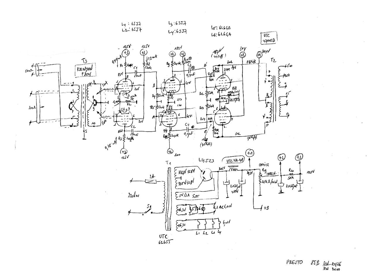
Detailschema balansversterker
De versterker is volledig in balans uitgevoerd. Zowel de ingang als de uitgang zijn met een transformator uitgerust.
Als ingangstransfo is een Kenyon type P204 gebruikt. Op het internet is nog een en ander te vinden van dit Amerikaanse merk, maar van de P204 niets. Wel vond ik een K205 uit 1936, die volgens mij slechts in uiterlijke bouwvorm verschilt van de P204. Mogelijk is ook de secundaire impedantie verschillend.

Aan pennen 7 en 10 is de dubbele ingangspotentiometer (2 x 500 k?) aangesloten. De beide lopers gaan rechtsreeks naar de stuurroosters van de twee 6SJ7 pentodes. Deze werken met een gemeenschappelijke kathodeweerstand R2 (1 k?). Het versterkte signaal wordt in de beide anodekringen afgenomen en via condensatoren C1 en C2, (elk 50 nF) naar de stuurroosters van de buizen 6SJ7 van de volgende trap gevoerd. Andermaal gaat het nogmaals versterkte signaal van de anodes naar de g1 roosters van de eindbuizen 6L6 doorheen condensatoren C3 en C4 (0,1 µF elk) De anodes van de 6L6 komen op de primaire van de balansuitgangstransformator type 47005B van het merk UTC. Van de anodes van de eindbuizen loopt er een terugkoppelsignaal naar de kathodes van de 6SJ6 in de tweede versterkingstrap via twee in serie geschakelde weerstanden R14 + R15 en R16 + R17 (elk 62 k?, een eigenaardige waarde). Secundair heeft de uitgangstransfo twee afzonderlijke wikkelingen: een laagohmige voor 8 ?, met aftakking op 4 ?, en een middelohmige voor 500 ?, met aftakking op 250 ?.
De voeding is opgebouwd rond nettransformator T1, merk UTC, type 62655. Alhoewel de Presto 85B van Amerikaanse origine is heeft de primaire alleen een ingang voor 220 V, wat ons doet vermoeden dat het hier om een apparaat gaat dat speciaal voor export gebouwd werd. Secundair vinden we vier wikkelingen: de eerste voor 6,3 Volt gloeispanning (met middenaftakking) voor de 4 buizen 6SJ7, de tweede (eveneens met middenaftakking) voor de 6,3 Volt gloeispanning van de eindbuizen 6L6, voor het signaallampje op het voorpaneel en voor voeding van een externe verbruiker, beschikbaar op het klemmenbordje achteraan het toestel. Een derde wikkeling verzorgt met 5 Volt het filament van de gelijkrichter 5Z3, en de vierde wikkeling is de hoogspanningswikkeling 325 Volt, met middenaftakking, die naar de anodes van de gelijkrichter leiden. Na de gelijkrichting volgt een Pi filter voor afvlakking, bestaande uit twee elco’s van 25µF/450Volt, en een smoorspoel merk UTC, type HA-4A. De anodespanning voor de voorversterking wordt naar omlaag gebracht door een als potentiometer gemonteerde vermogenweerstand R19 (25 k?, geschatte dissipatie 10 Watt of meer) en verder afgevlakt m.b.v. twee elco’s 25µF/450V en een L-filter R20 (51 k?) met een elco van 25 µF/450V.
Volledig schema
Hier wordt het moeilijk. Doordat er zodanig veel in gewijzigd werd in de bedrading is de oorspronkelijke staat niet meer te achterhalen. Voor het schema klik hier.
De 500 ? ingang (aangesloten aan klemmen 1 en 6, en 3 & 4 doorverbonden) is verbonden met afgeschermde kabel met de klemmen 1 en 2 van het klemmenbordje. Tussen klemmen 3 & 4 en 1 & 2 is een symmetrisch verzwakkingsnetwerk aangebracht, bestaande uit een 620 ? weerstand tussen 3 & 4, en telkens een 10 k? weerstand tussen 3 & 1 en tussen 4 & 2. De twee klemmen MIC IN en de vier klemmen PICKUP IN worden niet meer gebruikt. Op de klemmen RADIO IN komt, m.b.v. een afgeschermde kabel het uitgangssignaal terecht, afgetakt tussen de 250 ? en de 500 ? klem van de uitgangstransfo. Hetzelfde signaal wordt ook naar de Weston uitsturingsmeter en naar de 3 standen sleutel op het frontpaneel gevoerd. Van de sleutel vertrekken twee afgeschermde lijnen, naar resp. de klemmen CUTTER OUT1 en CUTTER OUT 2. Voor het volledige schema klik hier.
Tenslotte de laagohmige uitgang: de klemmen 8 ? en 15 ? lopen via een afgeschermde kabel naar de jack bus op het voorpaneel, en de 0 en 15 ? lopen naar de klemmen SPK. OUT. In de nulleiding wordt evenwel nog een weerstand van 40 k ? geplaatst, die met de 5 standenschakelaar overbrugd wordt in één van de standen. Deze weerstand is beslist niet origineel: hij is van het (Belgische) merk B.B. (dit staat voor Bayot en Blaimont, een bedrijf uit het Brusselse Ukkel dat elektronische componenten vervaardigde voor en na WO II). Begrijpe wie begrijpen kan!
Restauratie
Bij beide versterkers ontbraken de meeste buizen. Van de twee toestellen samen had ik slechts 3 stuks 6SJ7, waarvan één uitgeput. In de voorraadkamers van het OmroepMuseum waren twee goede eindbuizen te vinden, maar van de 6SJ7 geen enkele. Ik kreeg van de secretaris van het Olens Radiomuseum twee fonkelnieuwe lampen uit zijn privé collectie ten geschenke. Na onderzoek van het toestel met serienummer 2406 bleek dat daar de uitgangstransformator defect was. En bij de tweede versterker met nummer 2400 was de Kenyon ingangstransfo stuk.
Ook kwam aan het licht dat in beide toestellen een heleboel wijzigingen aangebracht werden, wat het praktisch onmogelijk maakt ze terug in hun originele staat te brengen. (Er is immers tot zover bekend géén origineel schema of document hierover beschikbaar). Volgens insiders werden de toestellen omgebouwd tot “controle-eenheid voor het lokaal van de zendoverste op het Flageyplein te Brussel”.
Zo is alle bedrading rond de 5 standen functieschakelaar gewijzigd, en werden twee standen geblokkeerd.
Wat er ons toe bracht om van de twee defecte één werkend toestel te maken. De ingangstransfo van het apparaat met de kapotte uitgangstransfo werd getransplanteerd, en diverse verlopen weerstanden en lekke koppelcondensatoren werden vervangen. Na zorgvuldige reiniging werd het toestel op het net aangesloten, diverse spanningen gemeten, en in orde bevonden. Misschien kunnen we er ooit de Presto 6N platengraveermachine mee aansturen?
Ga naar :

